首頁衛浴設備面盆【Miratap】檯上盆 -SPINNING


【Miratap】

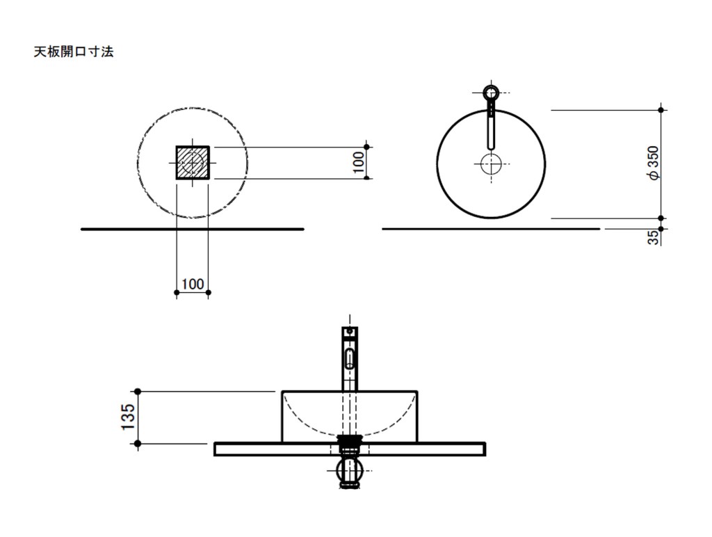
檯上盆 -SPINNING

材質:SUS304不鏽鋼

產品尺寸:φ350×H135mm

-商品介紹-

商品介紹

規格說明